4001-024-066
-
地址:遼寧省沈陽市蘇家屯區迎客松一路33-8號
-
咨詢電話:4001-024-066
-
郵箱:lnyw@yw-ln.com

HXGN15A-12(F·R)型(xing)(xing)固定式戶內交流(liu)金屬(shu)封(feng)閉(bi)環網(wang)開關設(she)(she)備是為(wei)城(cheng)市電(dian)(dian)(dian)網(wang)改造和(he)(he)建設(she)(she)需要而生產的(de)(de)新型(xing)(xing)高(gao)壓開關柜。在供電(dian)(dian)(dian)系(xi)(xi)統中(zhong)(zhong)亦作為(wei)開斷負(fu)荷電(dian)(dian)(dian)流(liu)和(he)(he)短(duan)路電(dian)(dian)(dian)流(liu)以及關合短(duan)路電(dian)(dian)(dian)流(liu)之用(yong),適用(yong)于(yu)交流(liu)3~12kV、50Hz的(de)(de)配(pei)電(dian)(dian)(dian)系(xi)(xi)統中(zhong)(zhong)。廣泛地用(yong)于(yu)城(cheng)市電(dian)(dian)(dian)網(wang)建設(she)(she)和(he)(he)改造工(gong)程、工(gong)礦企(qi)業、高(gao)層建筑和(he)(he)公共設(she)(she)施等,作為(wei)環網(wang)供電(dian)(dian)(dian)單元和(he)(he)終(zhong)端設(she)(she)備,起著(zhu)電(dian)(dian)(dian)能的(de)(de)分配(pei)、控制和(he)(he)電(dian)(dian)(dian)氣設(she)(she)備的(de)(de)保護作用(yong),也可(ke)以裝(zhuang)在預(yu)裝(zhuang)變(bian)電(dian)(dian)(dian)站中(zhong)(zhong)。
●柜體(ti)為組裝(zhuang)式結(jie)構(gou),全金屬(shu)封(feng)閉結(jie)構(gou),其防護等級達IP3X。
●柜內主要(yao)(yao)原(yuan)件真(zhen)空負(fu)荷(he)開關(壓氣式負(fu)荷(he)開關,六(liu)氟化硫負(fu)荷(he)開關),可以與熔斷器、接地開關、電(dian)(dian)壓互感器、電(dian)(dian)流互感器配套使(shi)(shi)用(yong)或單(dan)獨使(shi)(shi)用(yong),滿足運行的不同要(yao)(yao)求,開斷負(fu)荷(he)電(dian)(dian)流和短路(lu)電(dian)(dian)流及關合短路(lu)電(dian)(dian)流
●裝(zhuang)有限流式帶有撞擊(ji)器觸(chu)動脫扣(kou)裝(zhuang)置的熔斷器。
●具(ju)有明顯隔離斷(duan)口、操作聯動機構及聯鎖機構。
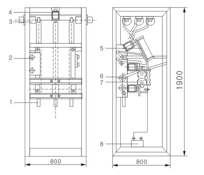
內部結構布(bu)置圖